Calculation assumptions for SLS

This article is also available in:

The following assumptions are applied in the calculations according to caption 7.2 Stress limitation, 7.3.4 Crack width calculation, 7.4 Deflection control EN 1992-1-1

Within the calculation of the serviceability limit state, we deal with two states that differ in the tensile strength of concrete only.

1. Uncracked cross-section

    • The tensile strength of the concrete is not ignored.
    • Concrete stress is directly proportional to the distance to neutral axis (linear stress distribution).
    • Reinforcement stress is directly proportional to the distance to neutral axis (linear stress distribution).
    • Concrete tensile stress is limited by value fct,eff according to art. 7.1 (2) EN 1992-1-1.
inline image in article

\[ \textsf{\textit{\footnotesize{Uncracked section}}}\]

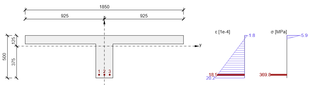
2. Fully cracked cross-section

    • the tensile strength of the concrete is ignored.
    • Concrete stress is directly proportional to the distance to the neutral axis (linear stress distribution).
    • Reinforcement stress is directly proportional to the distance to the neutral axis (linear stress distribution).
inline image in article

\[ \textsf{\textit{\footnotesize{Cracked section}}}\]